GZS系列雙質體振動流化床干燥機

工作原理
所謂的振動流化床干燥機既是在流化床身上施加一固定頻率的振動力,使流化床在整個操作過程中始終保持某個方向的振動。
振動流化床干燥機按其加熱方式屬于錯流干燥即熱能以錯流方式由熱空氣傳給與其直接接觸的濕物料表面,進行直接加熱干燥,濕物料在流化床內受流速合適的熱氣流和激振器產生的振動力作用下上下翻動,互相混合與碰撞,使床面上的料層保持一個均勻且能定向移動的流化狀態,從而保證濕物料與熱氣流進行充分的傳質和傳熱,達到干燥目的。

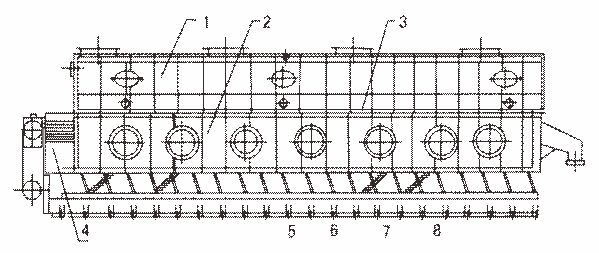
1、上腔 2、風箱 3、流化床板 4、箱式激振器
5、底座 6、板彈簧 7、螺旋彈簧 8、 橡膠緩沖墊
主要特點和用途
該機適用于粉粒狀物料的干燥,尤其適用于高含水物料,主要用于聚丙烯酰胺、硫胺、檸檬酸等物料的干燥作業。
它具有以下特點:
流態化均勻穩定,無死床和吹穿現象,可獲得均勻的干燥制品;
本機采用分離拖動方式,運轉平穩,維修方便,噪音低,設備壽命長;
可調性好,料層厚度和物料在機內停留時間均可調節;
避免產品在停車時掉入風箱內,減少產品與干燥器底板接觸和過熱;
作業環境清潔,可連續作業;
加熱方式為直接加熱,熱效率高,節能效果好。

1、一段空氣過濾器
2、一段給風機
3、一段空氣換熱器
4、二段空氣過濾器
5、二段給風機
6、二段空氣換熱器
7、旋風除塵器
8、引風機
9、細粉回收風機
主要技術參數和型號
處理量以干燥聚丙烯酰為例,進料含水75%,出料含水10%。

